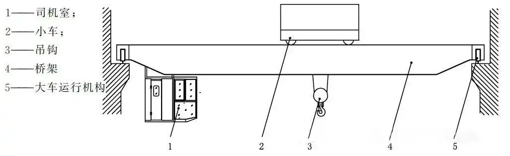
General-purpose bridge crane (bridge crane for general purposes), which refers to a bridge crane used for general purposes in ordinary environments, has a lifting device such as a hook, grab, electromagnetic suction cup, or a combination of one or more of these. It is used for material handling in general workshops and warehouses.

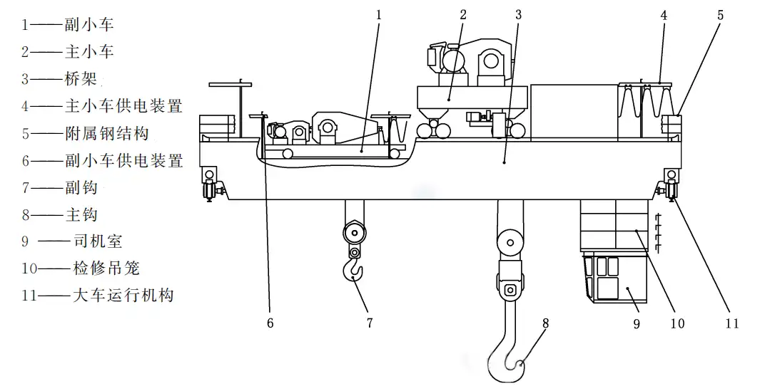
Metallurgical bridge crane (bridge crane for metallurgy) refers to a type of bridge crane that is specifically designed to meet the special requirements of metal smelting, casting, rolling, and heat processing, and is directly used in the production process. It is mainly used in specific process sections of metallurgical factories (such as casting, pouring molten iron, transporting high-temperature raw materials, etc.)

Compared with general bridge cranes, what are the specific requirements for metallurgical bridge cranes? This article makes a comparison from eight aspects: job level and design principles, environmental adaptability requirements, thermal protection and anti-splash measures, lifting mechanism, loading device, main structural materials, steel wire ropes and pulleys, and installation requirements for the safety monitoring management system.
1. Duty Class and Design Philosophy
Metallurgical Cranes (Y):
Duty Class: Designed for the most extreme conditions, typically operating at A6 to A8 (very heavy to extremely heavy duty). They are used continuously in harsh production environments.
Core Principle: Reliability and Safety are paramount. Every component is engineered to withstand extreme shock loads, high temperatures, and potential failures without compromising the load.
General Purpose Cranes (T):
Duty Class: Range from A1 to A8, but typically operate at A1 to A6 (light to heavy duty). They are designed for workshops, warehouses, and assembly lines.
2. Environmental Adaptability
Metallurgical Cranes (Y):
Designed to operate in ambient temperatures ranging from -10°C to +60°C, often enduring radiant heat from furnaces and hot metal.
General Purpose Cranes (T):
Standard operating temperature range is -5°C to +40°C, with a 24-hour average not exceeding +35°C.
3. Thermal Protection and Splash Resistance
Metallurgical Cranes (Y):
Structural Protection: Main girders, electrical rooms, and operator cabins are equipped with heat shields and insulated linings.
Electrical Systems: Control cabinets may require dedicated cooling systems or special heat-resistant designs.
Hoist Mechanism: Drums, sheaves, and wire ropes are protected from molten metal splash via fully enclosed protective covers (e.g., enclosed hook shrouds).
Insulation: Motors and brakes utilize a higher insulation class (typically Class H) to withstand overheating.
General Purpose Cranes (T):
Require only standard industrial and insulation ratings, as they are not exposed to radiant heat or molten splash.
4. Hoisting Mechanism and Drive Systems
Metallurgical Cranes (Y):
Dual Braking System: The hoisting mechanism must be equipped with two independent service brakes, with disc brakes being the preferred standard for casting cranes.
Redundant Drive Systems: For critical applications (like molten metal handling), the hoist often features dual motors, dual reducers, and dual drums operating in rigid synchronization. If one system fails, the other can sustain the full load and complete the work cycle.
Safety Brake: Even in single-drive configurations, a separate safety brake must be installed directly on the drum.
Motor Type: Specifically designed for metallurgical duty, utilizing YZ / YZR series motors (crane and metallurgy motors).
General Purpose Cranes (T):
Typically rely on single drive systems with standard braking configurations.
5. Lifting Attachments (Grab Devices)
Metallurgical Cranes (Y):
Utilize laminated hooks (to prevent sudden fracture), ladles, clamps, ingot tongs, and magnets designed for hot handling.
General Purpose Cranes (T):
Commonly use forged hooks, grabs, and standard electromagnets.
6. Structural Materials
Metallurgical Cranes (Y):
The primary structural steel is typically Q355B (or equivalent high-strength alloy), chosen for its superior toughness and resistance to shock.
General Purpose Cranes (T):
Primarily constructed from Q235B (or equivalent carbon steel), which is sufficient for standard loads and provides better cost efficiency.
7. Wire Rope and Sheaves
Metallurgical Cranes (Y):
Wire Rope: Must use steel-core (IWRC) ropes designed for high temperatures, with lubricants that do not degrade under radiant heat.
Winding: Ropes must be single-layer wound on the drum to prevent crushing and pinching.
Sheaves: Cast iron or nylon sheaves are prohibited due to heat and shock risks. Recommended materials are rolled or ring-forged steel.
General Purpose Cranes (T):
Typically use fiber-core or standard steel-core ropes. Multi-layer winding is permitted with specific steel-core rope requirements.
Conclusion
Choosing between a metallurgical and a general-purpose crane depends entirely on the application. Metallurgical cranes are specialized, heavy-duty machines built for survival and safety in high-temperature, high-risk environments. General purpose cranes are versatile workhorses designed for efficiency and flexibility in standard industrial settings.
Henan Mining Cranes Co., Ltd. is a leading crane manufacturer in China. With decades of industry experience, we have become a trusted partner in the global material handling solution field. We are committed to providing comprehensive professional services tailored to your specific needs. We recommend the most suitable crane products, offer accurate quotations, and design customized solutions. Welcome to contact us.
Get In Touch
Email: sale@henanminecranes.com
Website: https://henanminecrane.com/
Whatsapp:16627702870
phone:+86-0373-3088011
sale@henanminecranes.com
+86-0373-3088011